L'Air du Bois est une plateforme Open Source de partage collaboratif ouverte à tous les amoureux du travail du bois. (En savoir plus)

Rejoindre l'Air du Bois Se connecter

rapha24

Problème lurem c2600

Bonsoir ayant une Lurem c2600 je suis à la recherche des valeurs pour les condensateurs du moteur en 220v
Il est impossible de lire les valeurs car recouvert de peinture .
Merci par avance pour votre
Aide .

Connectez-vous pour ajouter un commentaire.
?

2 réponses

0
Benpef

Bonjour,

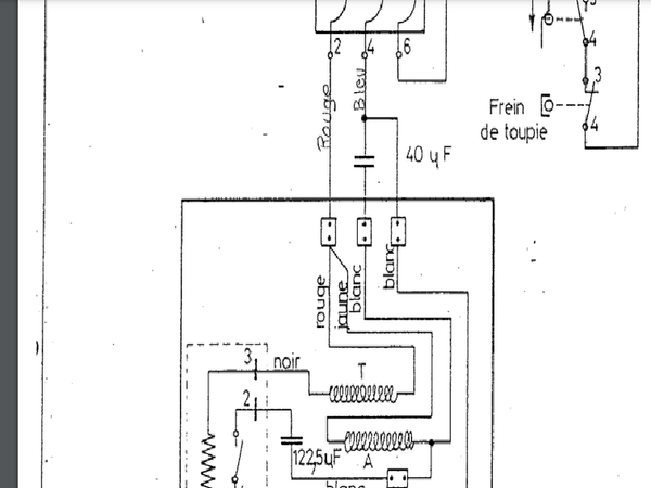
Ci dessous un bout du schéma élec avec les valeurs de condo

rapha24

Merci Benpef !

Connectez-vous pour ajouter un commentaire.
0
Teluos

Bonjour,
Pour ma part j'ai une C260 E avec notices et schémas (identique à C310 E). Les 2 condensateurs ont respectivement une valeur de 32 mF (micro farad) 400 V.
Bonne journée

rapha24

Merci Teluos !

Connectez-vous pour ajouter un commentaire.
0 coup de coeur
254 vues
2 réponses
0 vote

Publications associées

0 collection

Tags

    Aucun

Licence

Licence Creative Commons
Navigation