L'Air du Bois est une plateforme Open Source de partage collaboratif ouverte à tous les amoureux du travail du bois. (En savoir plus)

Rejoindre l'Air du Bois Se connecter

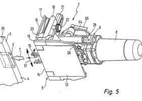
Brevet Festool Domino - bientôt chez bricotruc !

  • 5 918
  • 17
  • 7

Bureau réglable ou flipboard

  • 609
  • 1
  • 6

Comparaison domino/tourillons/lamello/vis : résistance -temps-coût

  • 4 116
  • 2
  • 1