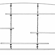
Il y a quelques semaines, j'ai installé ces étagères suspendues qui donneront peut-être des idées à certains. Elles sont en châtaignier, teintées merisier et vernies avec le vernis EXP mat incolore de Blanchon. 
Ma cliente souhaitait créer une séparation plus importante entre sa cuisine et son entrée, tout en conservant une bonne visibilité et une certaine légèreté. Elle souhaitait également empêcher ses chats de monter dans la niche existante.
Après plusieurs échanges, nous avons convergé vers l'idée des étagères suspendues avec différentes options : filins métalliques ou cordages. Finalement, en me renseignant sur le cordage, j'ai trouvé un cordage en chanvre de 6 mm de diamètre qui permettait de garder une certaine légèreté dans l'ensemble et un côté plus chaleureux que les filins métalliques.
Au final, il y a 8 points d'ancrage pour les cordages à l'aide de pontets en laiton et 4 cordages en tout. Chaque cordage est noué sur lui-même en partie haute. L'habillage bas de la niche est collé sur la maçonnerie et vissé (sous les pontets). Les étagères sont bloquées sur les cordages par un système d'insert en laiton et vis à bout plat placés sur les chants des tablettes. ça me semblait plus facile à régler que des nœuds 
Pour "masquer" le trou de l'insert, j'ai mis des vis à tête plate et large en laiton. En les brunissant, elles se marient bien avec les tablettes teintées merisier.
Pour conclure, ce petit projet a été très sympa à concevoir. La pose a eu son lot de surprise au niveau de la maçonnerie. Mais le système prévu pour les tablettes a très bien fonctionné.
Seul bémol sur le choix du couple châtaignier et finition en phase aqueuse... ce n'est pas forcément judicieux car les fibres du châtaignier remontent beaucoup malgré les égrenages successifs.
 
     
     
     
     
                                             
     
     
     
     
     
     
            
 
     
     
     
    
Discussions
C'est vachement sympa. Très bien intégré à l'environnement.
Merci
Original ! Ça rend très bien
Merci
Très sympa
Coté stabilité il faut eut-être éviter d'y mettre son service de verre en cristal de Bohême
Merci. C'est assez stable car les cordes sont tendues. Mais sait-on jamais, un chat pourrait décider de passer par là
Bonjour c’est quoi des pontet et comment les fixer sur le placo par rapport au poid
Bonjour Moi764, un pontet est une attache qui se fixe au mur. Ici c'est un Pontet simple qui ressemble à un petit pont :
Pontet simple de La Laitonnerie
Il suffit de faire deux perçages et de cheviller dans le mur. Pour du placo, tu peux mettre des chevilles molly, mais c'est sûr que ça ne supportera pas un poids énorme.
TissS merci encore et ça fait exelent et bravo
Merci