Voila ma question :
J'ai cette machine depuis quelques mois et elle a déjà pas mal servie.
Du coup les fers qui sont normalement jetable (pour ceux vendu de base) mériteraient d'êtres remplacés.
Si je comprend bien le terme "jetable", cela veut dire qu'on ne peu pas les affuter.
Et c'est la que je ne comprend pas pourquoi on ne pourrai pas les affuter 1, 2 ou 3 fois avant de les jeter.
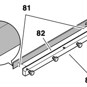
Le réglage de la barre support des fers donne la possibilité de régler la profondeur (ou hauteur) dans le rouleau par rapport à la table de sorti grâce des vis sans tête qui s'appuient en fond de rainure. Donc même si les fers ont des trous de maintient et de positionnement sur la barre support, cette derniere peut être monter ou descendue en profondeur pour avoir un alignement parfait avec la table.
De mon point de vue le jeu de réglage en question devrait permettre d'avoir une marge d'affûtage des fers tout en conservant leur bon maintient et la sécurité.
A final, mon idée est d'affûter les 2 fers avec un support spécial fer sur mon Tormek.
Quelqu'un a t'il déjà testé cette solution ?
Pensez-vous que cela puisse poser un problème qui m'échappe ?
Merci de vos retours et conseils
3 réponses
Je ne connais pas cette machine, mais à priori, si les fers sont jetables, c'est que la machine est spécifiquement prévue pour ce type de fers, et pas pour autre chose, ni même pour que les fers soient réaffûtés.
Une machine avec des fers classiques, est équipée de ressorts au fond de la gorge recevant les fers, ce qui permet de compenser la perte de largeur, à chaque affûtage. Ici, et suivant la première vue que tu montres, il semble que les fers viennent en contact avec le fond de la rainure, et que tu n'as pas d'autre possibilité de positionnement ou de réglage.
Autre point, il s'agit sans doute de fers carbure, donc qu'il est illusoire de réaffûter avec un Tormek.
Par contre, je vois qu'il existe un kit de conversion pour des fers classiques, je suppose. Mais ça reste à vérifier.
Bonjour,
J'ai cette machine depuis plusieurs années( env. 3 ans) et j'ai toujours le kit de fers jetable d'origine, pourtant elle en a avalée des kilomètres de toute sorte de bois.
Comme l'a expliqué une fois etiennedesthuilliers dans un commentaire (que je ne retrouve pas), régulièrement je donne un petit coup de pierre sur les fers sans les démonter à main levée.
Deux fois je l'ai démontés et affutés avec un support (voir photo) et qui, à l'époque où je l'ai acheté à couté env.25 € et pour celui qui veux s'en donner la peine, n'est pas très difficile à faire .
Oui, il existe un adaptateur pour fers affutables, il coute entre 60 à 70 € suivant les sites et le jeu de fers affutables entre 80 et 100 €. les fers réversibles eux coûtent de 28€ à 40 € suivant les sites.
Est-ce que ça vaut vraiment le coup de dépenser env. 150€.
Bonjour, je possède également cette machine, et je confirme que le réglage de base permet de régler la hauteur des fers.
Je pense que c'est la matière des fers qui fait qu'ils ne sont pas reaffutables.
Et enfin il existe effectivement un kit de conversion (dans les 80€) qui permet de mettre des fers reaffutables (HSS ou carbure)
Kit de conversion
Après je ne vois pas vraiment le fonctionnement de ce kit par rapport aux portes fers d'origine...
Si quelqu'un connaît la réponse, je suis preneur.
Merci.
)
