Bonjour.
On me demande de réaliser un pont au dessus d'un bief de moulin, et j'aimerais un petit coup de main pour le dimensionnement.
Il serait de style sobre, pas un pont japonais 
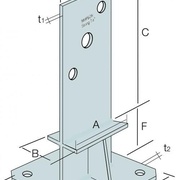
Il reposerait sur des massifs béton, via des platines type Simpson PPS230.
Portée entre les platines : env 680 cm.
Largeur 1,80 hors tout, pour pouvoir passer une tondeuse autoportée et éventuellement une petite remorque de voiture.
Possibilité de submersion quelques semaines.
J'ai pensé à une série de pannes en Douglas, type 90 x 220.
Les pannes extérieures percées de mortaises (traversantes pour éviter la stagnation d'eau) recevant des poteaux tenonnés.
Poteaux et garde corps en poteaux de robinier plané (diam 8/10), pour le côté un peu déstructuré.
Puis plancher en lames de terrasse en Douglas 28 x 145 face bombée.
Mon souci est de calculer le dimensionnement des pannes.
La charge serait de 5-600 Kg au milieu.
Pas de neige, c'est en Anjou.
Il me faudra aussi calculer le poids : j'envisage d'assembler la structure et les garde-corps sur la berge et de le positionner avec une pelleteuse.
Merci d'avance.
VERSION 2
Suite aux premiers échanges, voici une 2ème version. (les assemblages ne sont pas dessinés)
Les gardes corps ne sont pas indispensables puisque les berges ne sont pas protégées.
Je les ai remplacés par des fermes.
Je ne souhaite pas trop surélever le platelage et préfère poser les lames de terrasse perpendiculaires à l'axe, pour l'esthétique et la gestion des longueur de lames.
Je n'ai donc pas repris le montage de EstOuest et ai gardé des pannes entre les 2 fermes.
Dans ce cas l'essentiel du poids repose sur les 4 extrémités des fermes.
J'envisage de sceller de grosses plaques métalliques dans le béton pour les soutenir via des ronds traversants (mon voisin est tôlier).
4 réponses
Comme EstOuest, utilise la rambarde pour faire des poutres en X (X beam) qui vont largement rigidifier la structure.
bonjour
oublier les garde corps mortaisé c est une mauvaise solution
pour la charge restez conforme au règlement
pour les bois penser a la stagnation de l eau donc trouver une solution pour protéger les dessus de poutre et mettez des rondelles ou similaire pour ne pas avoir d'eau entre l' isolation dessus poutre et le platelage
faites un plan précis de votre ouvrage de façon a vous donner un avis cohérent
bon plan
etienne desthuilliers le charpentier de service
Salut !
Beau projet \o/
600kg c'est 8 personnes, un peu léger vu le caractère tiktokable du pont ?
Plus sérieusement, l'Eurocode 0 donne 500 daN/m² pour une passerelle piétonne [source]
