La chaise Steltman fait partie des icônes du design du 20 ième siècle. Elle a été dessinée par Gerrit Rietveld en 1963, mais il est surtout connu pour ses réalisations des années 20 et 30, du mobilier et même des immeubles qui sont comme des tableaux de Mondrian en 3D.
J'avais déjà réalisé la chaise Bleu et Rouge, et je voulais faire la Steltman depuis longtemps.
Elle est normalement réalisée en double, deux chaises symétriques. Elle avait été conçue pour une joaillerie, pour les futurs mariés qui s'asseyaient cote à cote, tournés l'un vers l'autre, pour choisir leurs bagues...
La voici, construite à partir de morceaux de lames de parquet de chêne, récupérées pour rien dans un ancien gymnase. Je n'aime pas trop l'idée que l'on a abattu un arbre pour me permettre de m'amuser. Donc, quand je peux récupérer du bois déjà utilisé, j'en profite. Les lames n'étaient pas belles, mais avec un peu de patience... le bois n'est pas de qualité "ébénisterie", il y a quelques noeuds, mais tant pis.
Les lames de parquet d'origine:
Un peu de collage:
Débit sur ma scie sur table "maison"
Après rabotage et ponçage:
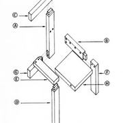
Assemblage par tourillons de 10 mm, 3 à chaque fois:
Et voila... Malgré sa forme pas habituelle, c'est du très solide et c'est étonnamment stable... Cela ne bouge pas d'un poil.
On trouve facilement les plans sur le net
Les autres créations icôniques de Rietveld. Il me reste à faire le guéridon et la chaise Zigzag...

Discussions
Jolie, celle là me plait beaucoup. je garde dans un coin
Moi de même, j'aime le style, et l'idée de faire sa jumelle en symétrique.
Par contre, je m'interroge sur son confort ?
Ce n'est bien sur pas un fauteuil grand confort où on peut s'avachir à plaisir... Mais le design est vraiment très bien fait, on se sent très bien dedans.
Joli, j'aime le style.
beau boulot!! pour tous ici d autres informations sur ce style lairdubois.fr/...l#1937-de-stijl
J'aime bien son originalité !
Merci à vous! Si cela peut donner des idées...
Vu le bois d'origine, tu as dû prendre autant de temps à raboter et coller les morceau qu'à la fabrication de la chaise elle même.
Je ne sais pas si ça existe en France, mais ça me fait penser aux modules qu'on vendait au profit des "iles de paix"
En effet, cela m'a pris pas mal de temps pour raboter et coller tous ces morceaux... Mais cela faisait partie de l'exercice et du plaisir... Transformer une matière pas belle du tout en quelque chose d'un peu moins moche...
Kantaro ,soyons fou !!! celui la ne te branche pas ??? a3dv.wordpress...-buffet-1919-2/
Si bien sur! Peut-être en un peu plus simple...
Kentaro en fait il est simple !! clique sur la photo du lien ci dessus ,tu as toute
la progression !
Merci pour ce partage culturel!!
Bravo, j'aime bien le coté "récup" et c'est du beau travail
As-tu conservé les dimensions d'origine de la chaise ?
Merci. Oui, j'ai repris les dimensions du plan.
Bravo ! Je suis en train de faire le même en fraké de 4cm d'épaisseur. Quelle épaisseur tu as sur ton modèle ?
le buffet ??? si oui cela vaut un pas a pas !!
Non la chaise
Elle est superbe cette chaise.
merci :)
Même avec les plans fournis, c'est du beau travail.
jpspp Oui, le designer qu'il faudrait féliciter, c'est Rietveld...
Il est où ce monsieur ?
je crois qu'il est au Paradis... :)
fr.wikipedia.o...Gerrit_Rietveld
Il est loin quand même.
Je vois qui c'est maintenant, ça me revient. C'est lui qui a fasciné Ingvar Kamprad l'ex patron D'IKEA.
Super intéressant, un jour j'aimerais faire la zigzag, je louche sur la taliesin chair de F.L. Wright regarde à l'occasion,
Jolie chaise
Bonjour, petite question ! Quelles sont les sections ?
Les Créations d'Axel Bonjour, j'ai mis le plan dans la présentation. On peut retrouver les sections.
Ok, je vais chercher. Merci et bonne fin de journée
Les Créations d'Axel Désolé si je ne t'ai pas donné la section, mais la chaise n'est plus chez moi.
Ok oui pas de soucis, c'est pas grave je vais me débrouiller, bonne soirée...